搜索-易造防雷MORE+
小編相信很多人都不知道什么是電壓均衡器,其實電壓均衡器也叫做雷電沖擊裝置、地電位連接器、地極保護器、火花隔離間隙等。電壓均衡器作用是很大的,廣泛應用于各行各業!當下其主要應用于直流1500V牽引供電和直流750V及以下牽引供電的城市軌道交通的高架區間。
2022-10-31
查看詳情>>很多人不知道雷電峰值記錄儀的作用是什么?其實雷電峰值記錄儀是專門為記錄雷電流大小而設計和制造的,它和避雷針和和引下線的配套使用。其被廣泛用于石油化工罐區、機場、風力發電場、景區、避雷塔、超高層建筑、變電站、鐵路接觸網、鐵路站點等行業領域。
2022-10-31
查看詳情>>相信很多人都不知道什么是雷電流記錄儀,更不懂雷電記錄儀原理。那么今天杭州易造小編就為各位來普及一下這個知識點,讓你對雷電記錄儀原理有一個深入的了解。在介紹雷電記錄儀原理之前小編先來介紹一下什么是雷電記錄儀。
2022-10-31
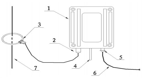
查看詳情>>什么叫地網接地電阻測試儀?相信沒有幾個人知道,因為這畢竟是專業知識。其實它也不復雜,言簡意賅地說就是用于地網接地電阻測試的設備。下面杭州易造小編就為各位來詳細介紹一下吧!
2022-11-01
查看詳情>>什么是地網接地電阻測試儀?其實地網接地電阻測量儀一般是用在超大型、大型、中型地網的接地特性參數測量。運用數字選頻測量(電子對抗)技術,具有很強的抗干擾能力,能有效消除由工頻感應、零序電流、諧波和雜散信號的干擾給測量帶來的誤差;
2022-11-01
查看詳情>>雷擊現象雖然不是時有發生,但是你要清楚這種事情是不能碰到一次的!所以對于一些重要場所安裝雷電預警系統是很有必要的!因為一旦發生雷擊,造成的經濟損失和人員傷害是很大的。像加油站這樣重要的場所,安裝加油站雷電預警系統就真的很重要,如果發生雷擊就很有可能造成火災、爆炸,而且波及范圍特別大!
2022-11-02
查看詳情>>當下的很多景區都對安裝雷電預警系統這件事情十分重視,因為很多景區山勢險峻,尤其是高山景區容易遭受雷擊,如何防止雷擊對游客的傷害成了很多景區急需解決的問題。而安裝景區雷電預警系統無疑是一個很好的主動防雷方式!因為可以提前預警,所以能很好幫助景區管理者解決雷暴天氣的相關工作。下面小編就為大家介紹一下景區雷電預警系統安裝選擇哪家公司?
2022-11-02
查看詳情>>停機坪雷電預警系統怎么選?為什么要安裝停機坪雷電預警系統,近些年來隨著我們國家的國民經濟和城市建設的快速發展,很多城市的高層建筑如雨后春筍般涌現出來,特別是一些城市越來越多的超高層建筑也是紛紛拔地而起,(按照GB50045-95.2005年版的《高層民用建筑設計防火規范》的有關規定,高度超過100米的建筑物就稱之為超高層建筑)。假如其一旦發生火災,在其他救援手段十分困難的情況下,利用直升機到達屋頂可以為撲救火災和疏散人員創造有利的條件。
2022-11-02
查看詳情>>石油倉儲安裝雷電預警系統的作用是什么?因為石油倉儲存放著很多易燃易爆的產品,一旦發生雷擊情況,后果不堪設想!根據以往氣象部門雷擊災害事故統計,32.5%油庫火災是由雷擊造成的,隨著我國石油儲備的加強,防止油庫的雷害事故就更加值得關注,而目前油庫雷電預警系統的安裝是保障石油倉儲安全有效的措施之一。
2022-11-03
查看詳情>>國內外雷電預警系統廠家有哪些?教您選擇雷電預警的3個方法【
隨著應急部文件的發布,國內很多油庫陸續安裝了雷電預警系統,同時引起了其他行業的關注,雷電預警系統由之前乏人問津的產品變成了炙手可熱的明星,于是很多地方冒出來各種各樣的雷電預警設備,國內外的都有。
2022-11-03
查看詳情>>根據《全國危險化學品安全風險集中治理方案》,把將雷電預警系統不完善列入了危險化學品生產儲存環節重大安全風險之一,這也說明了雷電預警系統的安裝建設是大勢所趨的。當下眾多危化行業安裝了雷電監測預警系統,一方面是為了讓像油庫罐區這樣的危險場所的安全沒有后顧之憂,而還有一方面是為了積極響應國家的政策,完成雷電預警系統的建設工作。
2022-11-03
查看詳情>>企業安裝雷電預警系統,為安全增添一雙“火眼金睛”【
雷電天氣對企業的安全管理和生產建設有著重大的影響,特別是一些危化品行業(油庫、石油罐區)一到每年的雷雨季節,總是嚴陣以待。2022年應急管理部門的《《大型油氣儲存基地雷電預警系統基本要求(試行)》的相關通知發布以后,各大危化品企業、油氣存儲基地等企業公司都紛紛開始安裝雷電預警系統。而企業雷電預警系統地投入使用好比添了一雙“火眼金睛”可以能提前預警監測防雷。
2022-11-04
查看詳情>>根據《全國危險化學品安全風險集中治理方案》,把將雷電預警系統不完善列入了危險化學品生產儲存環節重大安全風險之一,這也說明了雷電預警系統的安裝建設是大勢所趨的。當下眾多危化行業安裝了雷電監測預警系統,一方面是為了讓像油庫罐區這樣的危險場所的安全沒有后顧之憂,而還有一方面是為了積極響應國家的政策,完成雷電預警系統的建設工作。那么我們要怎么找到一個好的雷電預警系統廠家呢?
2022-11-04
查看詳情>>電壓均衡器也叫雷電沖擊裝置、地電位均衡器、地極保護器,主要應用于直流1500V牽引供電和直流750V及以下牽引供電的城市軌道交通的高架區間,主要作用是阻礙牽引供電系統雜散電流對地泄漏,同時也為雷電沖擊電流提供對地泄放通道。那么城市軌道交通電使用壓均衡器的作用是什么呢?
2022-11-04
查看詳情>>雷電預警系統?是當前公認的能大幅降低雷擊傷亡與災害最有效的措施之一,高爾夫球場雷電預警系統能及時、準確地預報當地雷擊活動情況,為企業安全的安全生產管理提供科學的依據。
2022-11-04
查看詳情>>大氣電場儀是用來測量大氣電場及其變化從而實現雷電預警的設備,基于電效應的大氣電場是唯一貫穿于雷電生命期(雷雨云起電、發展、消散等)的各個階段,當雷雨云中的電荷積聚到一定程度時,就會在云與云之間或云與地之間發生閃電。
2022-11-05
查看詳情>>接地電阻?也可以在線監測了!接地是避雷技術非常重要的環節之一,無論是直擊雷或感應雷,最終都是把雷電流引入大地。沒有合理而良好的接地系統是不能可靠避雷的,接地系統的良好與否,直接關系到防雷的效果和質量。
2022-11-06
查看詳情>>能讓你提早發現雷雨臨近的“偵查員”出現了!雷電預警系統【
雷電天氣對生產企業來說是件麻煩事,輕則生產停工,重者損壞設備傷害人,造成的損失無法估量。特別是危化品行業(油庫、石油罐區)一到每年的雷雨季節,總是嚴陣以待,煩惱不斷!今年2月份應急部發布了《油氣儲存企業緊急切斷系統基本要求(試行)》的通知后,各大危化品企業、油氣存儲基地等企業公司都紛紛響應,開始安裝雷電預警系統,為企業安上一雙“火眼金睛”,提早獲知雷電臨近,提早做好防御措施,從此被動防雷變成了主動防雷。
2022-11-07
查看詳情>>很多人對電梯井浪涌保護器選型這個問題比較困惑,而電梯井的浪涌保護器作用關乎電梯的安全,所以是一個非常嚴肅的安全問題!那么到底要怎么選呢?今天就和大家聊聊這個電梯井浪涌保護器的問題。
2022-11-07
查看詳情>>浪涌保護器漏電流是越小越好嗎? 0漏電流的SPD有嗎?【
我們經常用的由壓敏電阻構成的浪涌保護器都是會有漏電流的問題存在。通常情況,浪涌保護器漏電流越大,更容易造成浪涌保護器的自熱、劣化、縮短使用壽命,情況嚴重還會引起爆炸,造成嚴重的安全事故。
2022-11-17
查看詳情>>雷電峰值記錄儀,主要用于電力系統、能源系統、鐵路系統、氣象和文物古建筑等行業,它能記錄自然雷電流發生的大小、時間、次數、極性等數據,為今后防雷設計改進、雷電事故分析提供數據作為支撐,對于提高設備雷電防護、設備可靠運行改造,雷電峰值記錄儀具有重要的參考意義。
2022-11-07
查看詳情>>因為雷電預警系統的主動預警防雷功能,也是受到了眾多企業單位的親睞。由此,市場也是產生了一些亂象,導致雷電預警系統探頭質量的良莠不齊,不同廠家有不同參數,并且一些廠家還對外宣傳一些不實的說法,所以在此小編為你介紹一下,以免一些不懂但是想要購買的用戶踩坑。那么雷電預警系統探頭場磨式好還是電子式好呢?
2022-11-08
查看詳情>>雷電流記錄儀是一種高精度的雷擊記錄儀器,主要用于對直擊雷進行記錄,包括:雷電流波形、雷擊發生時間、雷電次數、雷電流波形峰值、單位能量值、雷擊極性等。并對數據存儲處理,采集的數據完整性好、準確度高。
2022-11-08
查看詳情>>據國家應急部的要求,目前全國各地危化企業掀起了雷電預警系統安裝的熱潮,監管部門的要求,為危化行業的防雷安全提高了等級,具有非常積極的社會意義和安全意義。由于雷電預警系統是個小眾產品,隔行如何山,其實雷電預警設備在國內已經有將近20年的歷史了,但是因為之前都是氣象部門在使用,很多人并不了解,于是一些人就會有這樣的疑問:雷電預警系統怎么樣?
2022-11-08
查看詳情>>接地電阻在線測試儀哪個廠家生產的好?隨著智能科技的發展,大數據、云計算等先進技術的發展,讓人工智能產業朝著更高更遠的方向發展。伴隨著萬物智能化的進步,雷電安全防護行業也緊隨時代的步伐,開啟了一個新時代。用更加智能的防雷設備,代替人工,減少了雷電災害的發生。
2022-11-08
查看詳情>>江蘇某外資汽車配件公司,專門生產汽車的安全氣囊,庫房內常年存有易燃易爆的材料。為了生產設備以及工作人員的安全,過去是通過工廠內部人員手持美國產的大氣偵測設備,進行現場巡視的方式采集大氣電場數據,用傳統的方法來判斷預測雷擊發生的可能性,以此來判定是否應該繼續生產。
2022-11-09
查看詳情>>易造雷電預警系統大氣電場儀(場磨式)是一種可以實時測量并記錄地面上的靜電場值的氣象儀器,它采用差模測量技術,和市場上采用共模測量的同類產品相比,差模測量技術避免了許多不必要的干擾信號,提供了更準確的測量結果。
2022-11-09
查看詳情>>高壓線路安裝雷電記錄儀這二點很關鍵,看完受益匪淺【
高壓線路安裝雷電記錄儀這二點很關鍵,看完受益匪淺!雷電流記錄儀是一種高精度的雷擊記錄儀器,主要用于對直擊雷進行記錄,包括:雷電流波形、雷擊發生時間、雷電次數、雷電流波形峰值、單位能量值、雷擊極性等。并對數據存儲處理,采集的數據完整性好、準確度高。
2022-11-09
查看詳情>>






























